关于表扬在公路水运工程质量检测能力验证活动中表现突出机构和人员的通知
各有关单位和人员:为创新服务方式,拓展检测业务技能展示途径,中国交通建设监理协会于2025年以线上验证的方式组织了公路水运工程质...
阅读详情电话:0632-6069163
邮箱:zzsdgg@163.com
地址:山东省枣庄市市中区振兴路11号

各有关单位和人员:为创新服务方式,拓展检测业务技能展示途径,中国交通建设监理协会于2025年以线上验证的方式组织了公路水运工程质...
阅读详情
沥青四组分是表征沥青的烃类族组成性质重要指标,我国自从1970年开始有了沥青四组分测量方法后,伴随石油沥青生产研究已有近60年的...
阅读详情
在使用棒状薄层色谱仪时,一般情况是设定好各自分析参数,按照操作步骤开机使用即可。如果较长时间不使用则需用防潮防尘罩将色谱仪器覆盖...
阅读详情
一、实验原理气相色谱仪采用一个配备有切换阀和氢火焰离子检测器(FID)的双柱气相色谱系统。将一定体积可重复测量的含有适当内标物如...
阅读详情
《食品安全国家标准 食品中污染物限量》(GB2762-2025)解读《 GB2762-2025 食品中污...
阅读详情
脂肪酸是体脂肪的重要组成成分,可以提高日粮中能量质量浓度,调节能量代谢。直接由饲料或动物体内代谢产生的游离脂肪酸和甘油脂是动物维...
阅读详情
《食品安全国家标准 食品中污染物限量》(GB2762-2025)解读《 GB2762-2025 食品中污...
阅读详情
在海洋科研领域,海水营养盐检测是解析海洋生态系统的关键环节。硝酸盐、亚硝酸盐、氨盐、磷酸盐、硅酸盐等营养盐,如同海洋生态的 “健...
阅读详情
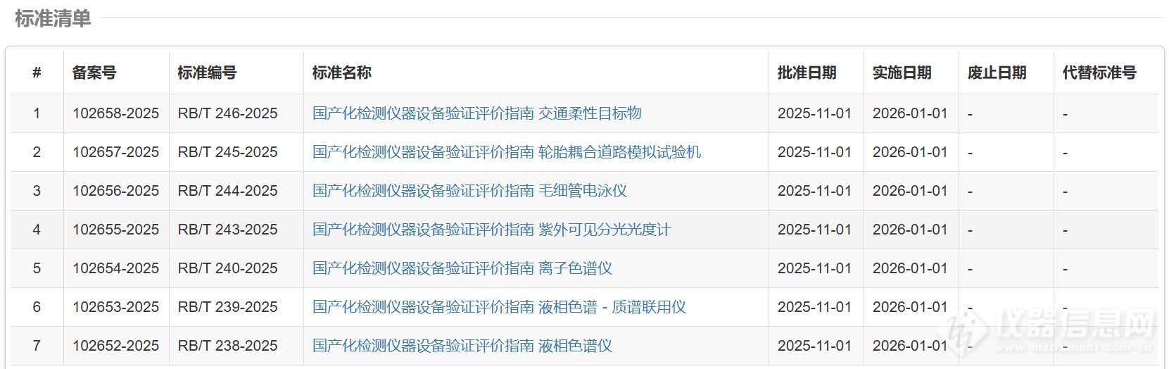
2025年11月,国家认监委公布《国产化检测仪器设备验证评价指南 液相色谱仪》等7项认证认可行业标准,包括液相色谱仪、...
阅读详情
2025年9月25日,国家卫生健康委联合市场监管总局正式发布《食品安全国家标准 食品中污染物限量》(GB 2762-2025),...
阅读详情